Justus Bavaria Kaminofen Bodenstein

Justus Bavaria Kaminofen Bodenstein

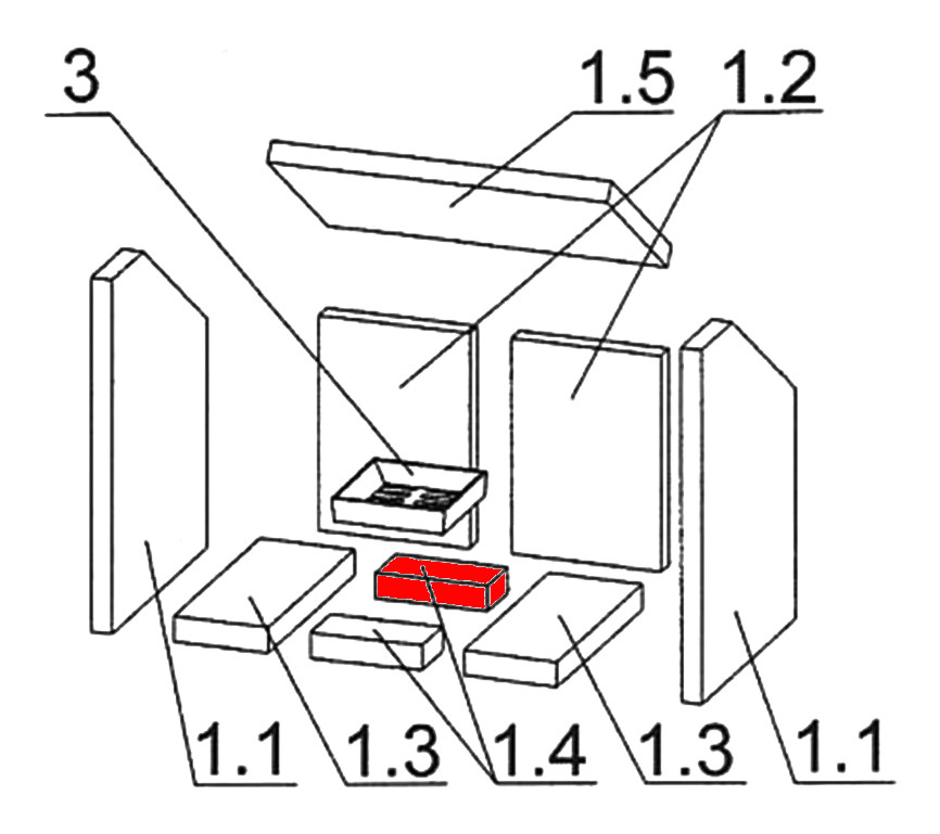
Eckdaten:

  • Brennraumstein
Feuerraumstein
  • Maße (B/L/H) 135 mm x 65 mm x 30 mm
  • Material Schamotte
  • Position 1.4 in der Explosionszeichnung
  • Original Bodenstein hinten A für den Kaminofen Justus Bavaria

    • Es gibt verschiedene Ausmauerungen für dieses Modell. Bitte orientieren Sie sich am Baujahr des Ofens oder an den Maßen vom Rückwandstein links
    • Erfahrungsgemäß wurde dieser Feuerraumstein bis 12/2002 verbaut und passt zum Rückwandstein links (182 x 255 mm).

    Justus Bavaria Bodenstein hinten

    Weitere Ersatzteile für Justus Bavaria

    Justus Ersatzteil Anfrage

    Captcha
    Beratung unter:
    040 / 28 48 48 210

    Ihre Vorteile

    • Mehr als 15 Jahre Erfahrung
    • Kostenlose Fachberatung
    • Original Ersatzteile
    • Kurze Lieferzeit