Justus Ohio Kaminofen Seitenstein

Justus Ohio Kaminofen Seitenstein

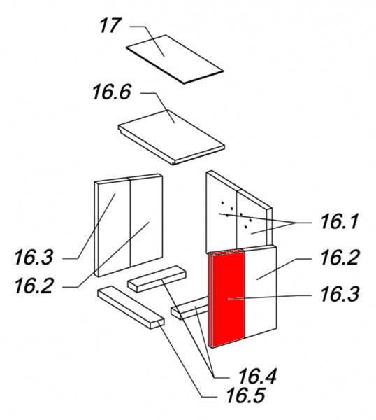
Eckdaten:

  • Feuerraumstein
Ofenstein
  • Vermiculitesteine
  • Maße (B/L/H) 165 mm x 380 mm x 25 mm
  • Material Vermiculite
  • Position 16.3 in der Explosionszeichnung
  • Original Seitenstein rechts vorne A für den Kaminofen Justus Ohio

    • Es gibt verschiedene Ausmauerungen für dieses Modell. Bitte orientieren Sie sich an den Aussparungen der vorderen Seitensteine.
    • Erfahrungsgemäß passt dieser Feuerraumstein in den Feuerraum, dessen vordere Seitensteine keine Aussparungen haben.

    Justus Ohio Seitenstein rechts vorne

    Weitere Ersatzteile für Justus Ohio

    Justus Ersatzteil Anfrage

    Captcha
    Beratung unter:
    040 / 28 48 48 210

    Ihre Vorteile

    • Mehr als 15 Jahre Erfahrung
    • Kostenlose Fachberatung
    • Original Ersatzteile
    • Kurze Lieferzeit