Justus Reno Soft Kaminofen Bodenstein

Justus Reno Soft Kaminofen Bodenstein

Eckdaten:

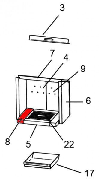
  • Brennraumstein
Feuerraumstein
  • Vermiculitesteine
  • Maße (B/L/H) 60 mm x 273 mm x 30 mm
  • Material Vermiculite
  • Position 8 in der Explosionszeichnung
  • Original Bodenstein links A für den Kaminofen Justus Reno Soft Typ 4791

    • Es gibt verschiedene Ausmauerungen für dieses Modell. Bitte orientieren Sie sich am Typ Ihres Gerätes.
    • Erfahrungsgemäß passt dieser Feuerraumstein für Typ 4791.

    Justus Reno Soft Typ 4791 Bodenstein links

    Weitere Ersatzteile für Justus Reno Soft

    Justus Ersatzteil Anfrage

    Captcha
    Beratung unter:
    040 / 28 48 48 210

    Ihre Vorteile

    • Mehr als 15 Jahre Erfahrung
    • Kostenlose Fachberatung
    • Original Ersatzteile
    • Kurze Lieferzeit